



400 6626 286
產品描述
上海美續測控MX-WD-03系列專業為安裝空間狹小的液壓領域和工程機械所開發的產品,它采用進口測溫元件,精湛的封裝技術及完善的裝配工藝確保了該產品的質量和性能。該系列溫度傳感器具有熱響應時間快、抗熱性能強、耐高壓、抗震、多種溫度型號可選擇、安裝方式多元化等許多優點。它將感應到的冷熱程度通過連接線傳輸到顯示儀表,記錄儀表,電子調節器等儀表讀出溫度量值,也可以直接轉變為放大信號接入PLC。
產品特點
?結構形式多樣化,裝配簡單、更換方便
?抗干擾性強、長期穩定性高、機械強度高
?抗震性能好、測量精度高
?測量范圍大(-200℃~1800℃)
?熱響應時間快、使用壽命長、耐壓性能好
?需求安裝空間小
應用領域
?工業自動化領域溫度監測
?食品及飲料加工行業
?石油化工溫度監測、水處理
?環保行業、廢水廢氣溫度監測
?液壓領域、工程機械
技術指標
| 熱電偶/阻類別 | 分度號 | 測溫范圍 | 允許偏差t |
| Ni/Ch-Ni/Si | K | 800-1200 | ±2.5 or±0.75%t |
| Ni/Ch-Cu | E | 600-800 | ±2.5 or ±0.75%t |
| Cu | T | 350-400 | ±2.5 or ±0.75%t |
| Fe-Cu | J | 600-700 | ±2.5 or ±0.75%t |
| Pt | PT100 | 0-600 | ±1 or ±0.75%t |
| Cu | CU50 | -50~100 | ±2.5 or ±0.75%t |
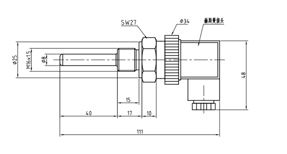
規格圖
技術規格
| 型號說明: | MX-WD-03 |
| 測溫元件: | N,R,K,E,J,T,PT100,CU50 |
| 精度等級: | A級:+/- (0.15+0.2%t); B級:+/-(0.3+0.5%t) |
| 溫度范圍 | -20°~0~1300℃ |
| 供電電壓: | 24(12~36)VDC (變送器默認),10(6~12)VDC (mV信號熱電偶默認) |
| 輸出信號: | 4-20mA(兩線制A2);熱電偶直接寫 |
| 護管材質: | 304不銹鋼(F1);316不銹鋼(F2);鈦材質(F3) |
| 連接類型: | 無固定裝置,螺紋連接,活動法蘭,固定法蘭,卡套螺紋 (客戶選擇) |
| 接線形式: | 赫斯曼出線 |
選型指南
| 型號 | 量程 | 輸出 | 安裝固定形式 | 插入深度以及直徑 | 其他 |
| MX-WD-03 | (-20-150) | 4-20MA | M20*1.5 | 100/6 | 無 |
| 訂貨舉例: | MX-WD-03-(-20-150)-A2-F1-M20-100/6 | ||||
特別提醒
如有不懂選型請咨詢銷售工程師,或者當地經銷商。
公司名稱:上海美續測控技術有限公司
辦公地址:上海市松江區三新北路1800弄國家電子商務園24號樓3層
工廠地址:上海松江區光華路650號
聯系電話:021-67881626
公司網址:www.0025sf.cn 、詳細說明請參照使用說明